進口卡裝式渦街流量計本體沒有法蘭,管道有法蘭,管道靠螺栓拉緊把流量計硬夾在里面所以叫卡裝。卡裝式渦街流量計主要用于工業管道介質流體的流量測量,如氣體、液體、蒸 汽等多種介質。其特點是壓力損失小,量程范圍大,精度高,在測量工況體積流量時 幾乎不受流體密度、壓力、溫度、粘度等參數的影響。無可動機械零件,因此可靠性 高、維護量小。儀表參數能長期穩定。本儀表采用壓電應力式傳感器,可靠性高,可在 -25℃~+320℃的工作溫度范圍內工作。有模擬標準信號,也有數字脈沖信號輸出,容易與計算機等數字系統配套使用,是一種比較先進、理想的流量儀表
進口卡裝式渦街流量計技術參數
測量介質
氣體、液體、蒸汽
執行標準
渦街流量傳感器(JB/T 9249-1999)
檢定規程
渦街流量計(JJG 1029-2007)
連接方式
卡裝式、法蘭式
公稱口徑
DN25~DN300
法蘭標準
常規標準
GB/T9113-2000
其他標準
國際管法蘭標準
如德標DIN、美標ANSI、日標JIS
國內管法蘭標準
如化工部標準、機械部標準
檢定條件
檢定裝置
音速噴嘴流量檢定裝置
精度等級
1.5級
量程比
1:10
流速范圍
液體:0.5~7m/s 氣體:5~50m/s
儀表材質
304不銹鋼,316不銹鋼
溫度范圍
-25℃~100℃、-25℃~+280℃、-25℃~+320℃
壓力等級
1.6MPa、2.5MPa、4.0MPa
輸出信號
脈沖頻率信號
兩線制4-20mA DC電流信號
485通訊
供電電源
24V DC
防爆等級
基本型:非防爆產品,防爆型:Exd ⅡBT4
防護等級
IP65
環境條件
環境溫度:-25℃~55℃ 相對濕度:5~90% 大氣壓力:86~106KPa
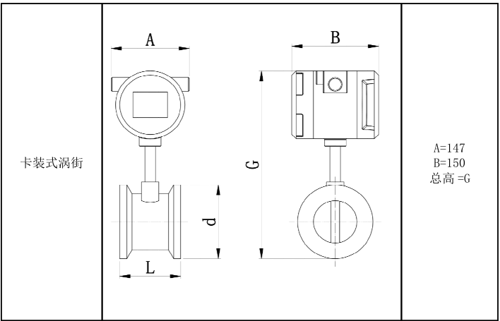
結構及尺寸

外形尺寸
